
全國免費客服電話 18268652722 郵箱:www.jungshuodz@163.com
手機:18268652722
電話:18268652722
地址:寧波市北侖區大碶廟前山路45號
人氣:

錯組織疵(Harness Balk)這種織物缺陷是由于織布機通絲沒有能夠按照規定的序列來進行移。對針織織物而言,這種缺陷的特點是在織物橫列或在織物橫向上通常會出現一些不均勻的花紋圖案。自理方法:將電箱電源開掉過10秒鐘后再打開電源,白燈熄掉后直接開車。
列入本標準的纖維包括:腈綸、棉和其他天然纖維素種子纖維、聚氨酯彈性纖維、亞麻和其他韌皮纖維、含脂原毛和其他蛋白質纖維、人造纖維素纖維、聚酰胺、聚酯和聚丙烯以及其他未包含在本標準中的纖維,..。不要對手機進行任何按鍵操作,把電池蓋打開取出電池,電話卡,內存卡,并用吹風筒的溫冷風吹干;2、用力甩動手機,把手機內的水甩出,再用干抹布或紙巾擦掉水珠;3、把酒精倒入有密封蓋的盒子,把手機放進酒精里泡5分鐘。

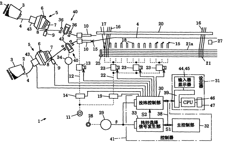
電機絕緣檢查:使用萬用表檢查電機絕緣電阻,確保絕緣電阻在正常范圍內,避免因絕緣老化導致的故障。檢查靠近織物右側附近的組織中是否緯紗短缺問題造成這種織疵的原因是:1、緯紗漲力過大,接緯劍在右側布邊處釋放緯紗后,緯紗在彈性恢復作用下回彈,使緯紗短缺一段。地球上板塊與板塊之間相互擠壓碰撞,造成板塊邊沿及板塊內部產生錯動和破裂,是引起地震的主要原因。

電源線檢查:檢查電源線是否破損,連接是否牢靠,排除電源線故障。棉紡織機械的易損件較多,如:清棉打手,梳棉三針,精梳錫林、頂梳、毛刷,并粗細工序膠輥膠圈,細紗網格圈、鋼領、鋼絲圈等,只要機械性能下降,就會影響成紗條干、強力、棉結指標。以上是深圳電主軸維修的常規步驟,希望能幫助到需要維修電主軸的朋友們。定期清潔:定期清潔電主軸,防止灰塵和污垢積聚影響電機散熱和運轉。

將織機轉動到送緯劍頭剛入織口時,查看鉗口有無雜物,并用手拉緯紗)如有容易脫落現象,應調整鉗口夾持力。橫襠疵(Barre)對針織織物而言,這種缺陷的特點是在織物橫列或在織物橫向上通常會出現一些不均勻的花紋圖案。棉紡行業飛花粉塵多及高溫高濕的環境特性,容易造成油路堵塞、機件銹蝕等問題,如不及時維修保養會造成設備故障而影響使用壽命。兩千年的手藝,近兩百歲的織布機,花甲的婆婆,傳承著深厚的中華文化。
相關推薦